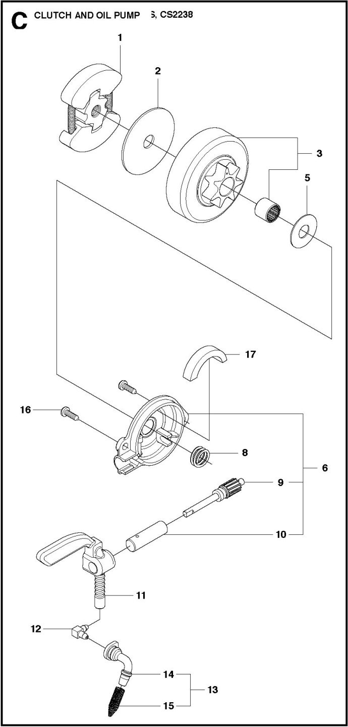
Штуцер маслошланга для бензопил Hu 230, 235, 236, 240, Хуск (5300494-77)
Штуцер маслошланга для бензопил Hu.
Используется в моделях бензопил Hu: 230, 235, 235 E, 236, 236 E, 240, 240 E, 240 E TRIOBRAKE
Самовывоз: Из пункта выдачи товара в г. Чернигов*
* После оформления заказа товара и согласования времени посещения пункта выдачи с менеджером магазина
По Украине: Курьерскими службами - Новая почта, Ин-Тайм
Пункты выдачи товара:
Чернигов: ул. Защитников Украины, 9, оф. 204
Есть вопросы? Звоните! Пишите!
Киев: (044) 384-03-54 Чернигов: (063) 833-67-71
Мобильные: (050) 733-00-41, (098) 049-05-74, (063) 833-67-71
Электронная почта: info@hozmart.com.ua




































Следите за нами